2021年, 第57卷, 第12期 
刊出日期:2021-06-20
  

  • 全选
    |
    特邀专栏:汽车-道路相互作用动力学前沿问题
  • 杨绍普, 张俊宁, 路永婕, 李韶华
    机械工程学报. 2021, 57(12): 1-17. https://doi.org/10.3901/JME.2021.12.001
    摘要 ( ) PDF全文 ( )   可视化   收藏
    回顾汽车-道路相互作用的研究历程和主要研究内容,分析汽车系统动力学、轮胎动力学和路面结构动力学三个研究领域之间的关系,分别从车辆的随机振动与道路友好性悬架、轮胎-路面接触动力学和动载荷下道路结构动力学三个层面对研究进展进行综述,提出汽车-道路相互作用研究中存在的问题和未来的发展方向。当前汽车-道路相互作用研究多集中于单一领域或者三个领域简单叠加,忽略或简化了汽车-道路之间相互作用、互相约束的复杂动态耦合关系,但是要满足车辆更高的控制精度和动力学性能优化,需要更多的考虑汽车-道路之间的相互作用关系。对于胎路接触关系,现有的研究多是以路面的特定参数来描述轮胎自身的滞回特性,考虑轮胎与路面之间的动态耦合特性需要更深一步研究。简单的路面不平度模型对路面的形貌描述不够,制约着车-路相互作用的研究,开展路面形貌特征的提取、描述和重构仍很重要。车辆运动控制的实现和控制器的设计多依赖于质心的动态响应和路面附着状况,汽车-轮胎-地面瞬态耦合机理及路面参数的高精度快速识别将是极具理论难度与工程应用的研究。此外,轮毂电机在新一代智能电动汽车的应用,改变了汽车底盘构型及载荷分布,考虑路面随机激励、电机激励及车路耦合激励的综合作用研究车-路相互作用及智能控制也是一项具有挑战性的科学问题。
  • 陈先华, 马耀鲁, 耿艳芬, 杨军
    机械工程学报. 2021, 57(12): 18-30. https://doi.org/10.3901/JME.2021.12.018
    摘要 ( ) PDF全文 ( )   可视化   收藏
    作为路面工程中的核心科学问题,车-路相互作用是评估车辆在道路上的行驶安全性与舒适性、理解路表特性及路面病害的发展演化等问题的关键。由路面不平度引起的车辆振动会影响行车安全性与驾驶舒适性,而车辆对路面会造成不同程度的破坏,车-胎-路是一个相互作用的耦合系统。由于问题本身的复杂性与其影响因素的随机性,相对独立的多尺度研究方法之间缺乏数据的有效交互,导致不同指标间的适用性不理想。因此,结合现有路面工程中的车-路相互作用所涉及到的路面宏观力学响应、路表纹理的多尺度表征、考虑胎面细观花纹的路表抗滑评估等方面的研究现状,对车-路相互作用过程中的路表纹理的时间演化过程、路面滑水现象导致的车辆失稳判定、沥青混合料的细观接触特性等关键问题进行归纳,参考已有研究成果提出现有车-路相互作用的评价指标,最后从路面工程角度对车-路相互作用问题研究的未来发展方向进行展望。
  • 陈鸿燕, 丁虎, 陈立群
    机械工程学报. 2021, 57(12): 31-39. https://doi.org/10.3901/JME.2021.12.031
    摘要 ( ) PDF全文 ( )   可视化   收藏
    Galerkin截断法是研究车路耦合系统动力学响应的常用方法。将路面假设为非线性黏弹性地基夹层梁模型,车辆假设为匀速运动的弹簧振子,建立车路耦合系统的振动方程。基于路面线性固有频率,提出两种确定Galerkin截断收敛项的有效方案,并分析系统耦合振动响应的收敛性。观察不同车速下的路面响应和车辆振动位移。当车身发生共振时,分析不同路面厚度下Galerkin截断数对系统收敛性的影响。讨论系统达到收敛时,车辆悬架刚度和阻尼,路面不平度波长和幅值对路面变形和车辆振动位移的影响。数值研究表明,提出的方案对车路耦合系统的收敛性判断具有较高的准确性,大大提高了计算效率,对研究人员解决车路耦合系统动力学问题有一定的促进作用。
  • 马宪永, 全蔚闻, 董泽蛟, 司春棣, 李韶华
    机械工程学报. 2021, 57(12): 40-50. https://doi.org/10.3901/JME.2021.12.040
    摘要 ( ) PDF全文 ( )   可视化   收藏
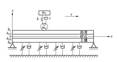
    高效准确地获取随机不平度激励下车辆-沥青路面交互作用特性,对路面友好型车辆设计、路面服役性能评估极为必要。采取解析法和顺序解耦的求解思路,首先推导随机不平度激励下1/4车辆模型的随机动荷载;而后借助相对坐标变换和Fourier积分变换,基于波传递方法,推导移动车辆随机动荷载作用下黏弹性多层体系沥青路面动力响应解析解,并编制相应的数值计算程序。通过车辆-路面动力学响应算例分析,得出沿车辆移动方向各纵向位置处的沥青路面动力响应幅值与随机动荷载相关。通过车辆-路面系统参数影响分析,可以发现,降低悬架和轮胎刚度系数、增大悬架阻尼系数可以降低沥青层底纵向应变,有利于提高路面疲劳寿命;轮胎阻尼系数对路面动力响应几乎无影响;路面不平度的劣化会显著加剧路面疲劳损伤;增大车辆移动速度会降低沥青层底纵向应变均值,但会增大其变异系数,故为了准确评估路面疲劳寿命,需充分考虑车辆移动速度对动力响应均值和变异系数的综合影响。
  • 李韶华, 罗海涵, 冯桂珍, 杨建森
    机械工程学报. 2021, 57(12): 51-61. https://doi.org/10.3901/JME.2021.12.051
    摘要 ( ) PDF全文 ( )   可视化   收藏
    轮毂电机驱动的电动汽车簧下质量大导致轮胎动载荷增加,电机电磁力也会加剧车辆振动,同时车辆和道路通过动态轮胎力相互耦合。为了探究电动汽车的振动机理,建立电动汽车机-电-路耦合系统非线性动力学模型,考虑悬架刚度、阻尼和轮胎刚度的非线性,并在传统路面不平顺激励的基础上叠加了轮毂电机的电磁激励和车路耦合引起的路面二次激励。解析推导电机电磁激励的表达式,建立轮毂电机三维实体有限元模型,计算磁通分布及电磁转矩,验证理论结果的有效性。利用模态叠加法推导了两端简支黏弹性地基梁的垂向位移响应,将其作为路面二次激励引入耦合系统模型。以车身加速度、悬架动挠度、轮胎力和轮胎四次幂合力作为评价指标,分析电磁激励、路面二次激励、车速和车辆非线性对车辆平顺性和道路友好性的影响。研究发现,车辆非线性对车辆振动和道路友好性的影响最大,电磁激励的影响次之,路面二次激励的影响较小;车辆高速行驶时,车身振动加剧且车辆载荷对道路损伤的影响更为显著;路面越平坦,以上三个因素的影响越大。所提出的车辆与电机、道路一体化建模思路,可为电动汽车动态设计和道路友好性研究提供借鉴。
  • 李全通, 王翔宇, 张邦基, 李亮, 裴宇轩, 平先尧
    机械工程学报. 2021, 57(12): 62-73. https://doi.org/10.3901/JME.2021.12.062
    摘要 ( ) PDF全文 ( )   可视化   收藏
    颠簸路面下汽车紧急制动时,由于轮胎的上下跳动,传统的防抱死制动系统为了保证车轮滑移率易频繁增压、减压,从而导致制动力不足,甚至诱发危险事故。轮胎纵-垂向耦合状态观测和基于此的修正滑移率控制方法是解决上述问题的基础。基于整车十二自由度纵-垂向耦合动力学模型和电控空气悬架系统输出信息,利用卡尔曼滤波器实时观测垂向轮胎位移和纵向参考车速;考虑颠簸路面下轮胎的上下跳动以及气压电子制动系统压力动态响应特性,提出一种基于滑模理论的修正滑移率控制策略。仿真与硬件在环试验结果表明,与传统滑移率控制方法相比,提出的方案可以准确估计垂向轮胎位移和纵向参考车速,有效提高颠簸路面下紧急制动时的制动强度,进而提升制动安全性。
  • 林棻, 王少博, 赵又群, 蔡亦璋
    机械工程学报. 2021, 57(12): 74-86. https://doi.org/10.3901/JME.2021.12.074
    摘要 ( ) PDF全文 ( )   可视化   收藏
    路面附着系数是车-路相互作用中最为关键的参数之一,它的精确获取也是车辆主动安全控制系统正常工作的前提和基础,为此提出一种基于改进Keras模型的路面附着系数估计方法。对车辆进行动力学分析,找出与路面附着系数相关的动力学参数作为神经网络模型的输入量;通过各种工况的仿真试验建立数据集;以Keras模型为基础,结合限幅递推平均滤波算法、K折验证、Dropout正则化与Sarsa强化学习,提出改进Keras模型的路面附着系数估计器。滤波算法用于除去神经网络模型输入量的噪声,K折验证用于扩大样本空间,Dropout正则化可以降低模型的过拟合现象,提高模型泛化能力,Sarsa强化学习可以改善路面附着系数预测量超过边界的问题。最后,通过仿真验证表明所设计的估计器在路面附着系数估计中的有效性与可靠性,提出的方法相比原Keras模型平均绝对误差降低了73%,均方根误差降低了58%。
  • 路永婕, 张俊宁, 李皓玉, 马智喆
    机械工程学报. 2021, 57(12): 87-98. https://doi.org/10.3901/JME.2021.12.087
    摘要 ( ) PDF全文 ( )   可视化   收藏
    为深入探讨轮胎-路面之间耦合振动,在考虑轮胎与路面的非均匀动态摩擦力基础上提出轮胎-路面-路基系统耦合模型。以Kirchhoff薄板理论为基础,建立有限长度和有限宽度板在Winkler地基上的路面结构动力学模型,为了真实描述轮胎与路面之间的耦合关系,将传统的基于线接触载荷分布的LuGre轮胎模型改进为面接触非均匀载荷分布。采用Galerkin截断法将路面振动的偏微分方程简化为有限常微分方程,运用Runge-Kutta法求解控制方程,计算轮胎-道路耦合系统的响应。探讨不同的横向、纵向截断阶数对耦合系统振动响应计算精度的影响,确定最佳的截断阶数。对轮胎-路面的耦合特性进行分析,分别从路面的结构变形、动态载荷和轮胎力(纵向力、侧向力和回正力矩)对比在考虑耦合和不考虑耦合作用的区别,为路面结构设计和车辆性能控制提供参考。
  • 魏子茹, 卢延辉, 王鹏宇, 马天飞, 赵世杰
    机械工程学报. 2021, 57(12): 99-108. https://doi.org/10.3901/JME.2021.12.099
    摘要 ( ) PDF全文 ( )   可视化   收藏
    合理的测试场景和科学客观的评价方法能促进无人驾驶技术的快速发展,但目前无人驾驶车辆定量评价方法中仍需要一定人为参与,导致评价结果存在较强的主观性。利用层次分析法(Analytic hierarchy process,AHP)与基于层间相关性的客观赋权法(Criteria importance though intercrieria correlation,CRITIC)确定评价指标权重,采用灰色关联理论评价方法对车辆进行定量评价。试验结果表明灰色关联理论评价方法与传统模糊综合评价法的评价结果具有较高的一致性,同时降低了评价方法主观性和实际应用中企业邀请大量专家参与评价的成本。
  • 仪器科学与仪器
  • 杨庆宁, 解社娟, 何琨, 王凯强, 仝宗飞, 陈洪恩, 陈振茂
    机械工程学报. 2021, 57(12): 109-117. https://doi.org/10.3901/JME.2021.12.109
    摘要 ( ) PDF全文 ( )   可视化   收藏
    针对小径管缺陷的检测,传统检测方法基本为Bobbin探头,但这种方法具有不能检出缺陷的环向信息的缺点。基于涡流检测的研究,为达到检出小径管缺陷的多重信息的目的,提出并开发一种新型的环向偏心Bobbin探头。该探头兼具轴向扫描和偏心环向扫描的功能,能够对小径管缺陷的多重信息进行有效检测。具体研究内容基于涡流检测的方法,设计出适用于小径管的可偏心、可环向旋转的Bobbin探头,并建立模型进行模拟计算;通过整合获得的模拟数据,验证新型探头对于小径管缺陷的轴向、环向扫描相比于传统探头的优越性;制作探头并搭建试验系统,对所开发探头检测小径管缺陷的功能进行验证,进一步确立了该新型探头的优越性和高效性。
  • 刘海波, 刘天然, 李亚鹏, 王永青
    机械工程学报. 2021, 57(12): 118-125. https://doi.org/10.3901/JME.2021.12.118
    摘要 ( ) PDF全文 ( )   可视化   收藏
    针对金属材料零件制造中的表面残余应力无损检测难题,提出一种平面应力状态超声测量方法。基于线弹性理论,引入晶粒取向表征因子,揭示晶粒取向对超声传播的影响机制。虑及材料力学性质(弹性常数、晶粒取向等)和应力状态对声速的共同影响,建立平面应力分量-声速解耦模型。基于临界折射纵波(LCR波)表面应力测量原理,分析温度与耦合状态对超声信号衰减、畸变以及声时的影响规律,并设计出一种一发双收直接耦合造波探头。以单向拉伸的变截面铝合金板和搅拌摩擦焊后的轧制铝合金板为典型对象,利用自主开发的超声应力测量系统进行表面应力测量试验,分别与有限元法和小孔法进行对比,应力测量结果具有良好的一致性,可为金属材料表面残余应力测量提供可行方案。
  • 牛泽, 李凯, 白文斌, 孙圆圆, 龚卿青, 韩焱
    机械工程学报. 2021, 57(12): 126-135. https://doi.org/10.3901/JME.2021.12.126
    摘要 ( ) PDF全文 ( )   可视化   收藏
    油液中的磨粒可反映发动机等设备的磨损状况,为实现油液金属磨粒的在线监测,基于电磁感应原理建立了三线圈传感器的数学模型,通过仿真分析传感器最佳结构参数(内径、间隙、宽度等),利用相干解调模型提取磨粒信号,并分析磨粒信号产生原理。系统采用多层屏蔽结构,可有效减少外部的磁场干扰,设计的传感器检测系统接入风机齿轮箱油路进行相关试验。试验结果表明,本系统可对磨粒信号进行有效提取,且磨粒信号同时受磨粒速度及磨粒尺寸的影响,可在流量为1~18 L/min的工况下实现187 μm铁磁性金属磨粒和578 μm非铁磁性金属磨粒的检测,后续可结合BP神经网络对油液金属磨粒各特征参数进行自适应判别,对今后油液磨粒在线监测设备的开发提供了理论支撑及技术支持,为机械设备故障诊断提供重要依据。
  • 周澄, 邓菲, 刘尧, 刘秀成, 陈洪磊, 刘增华
    机械工程学报. 2021, 57(12): 136-144. https://doi.org/10.3901/JME.2021.12.136
    摘要 ( ) PDF全文 ( )   可视化   收藏
    利用导波的远场检测优势和机器学习模型,开展管道弯曲处腐蚀损伤程度智能辨识方法研究。在普通碳质钢管弯头处加工不同程度的腐蚀缺陷,按腐蚀程度分为10个等级。采用自激自收和一激一收两种信号激励接收方式,在管道中激励具有非频散的T (0,1)型超声导波,采集得到不同腐蚀程度缺陷对应的导波检测信号。在时域和频域对检测信号进行分析,提取多个导波信号特征值用于表征损伤程度,并通过BP神经网络和支持向量机两种分类模型对数据进行训练分析得到缺陷损伤辨识模型,实现弯曲处腐蚀程度的准确辨识。研究中分析两种模型的超参数对缺陷辨识模型精度的影响,对比研究两种模型对弯管腐蚀损伤辨识的性能。试验结果表明,两种损伤辨识模型对不同激励接收模式下的导波检测信号均能取得较优的分类效果。相较于BP神经网络,支持向量机在小样本条件下对弯管腐蚀损伤具有更好的辨识效果。
  • 张婷, 陈杰
    机械工程学报. 2021, 57(12): 145-152. https://doi.org/10.3901/JME.2021.12.145
    摘要 ( ) PDF全文 ( )   可视化   收藏
    板直角焊接结构由于被焊试件厚度薄、检测精度要求高等因素使得常规检测方法难以施展。利用相控阵超声检测技术声束灵活可控的特点,制定基于波束控制的全覆盖检测方案。为获得较好的信噪比,提出一套楔块几何参数的优化设计方法;对采用多次反射方式入射的相控阵超声偏转聚焦法则计算方法进行了研究;构建采用机械臂作扫查器的高精度相控阵超声自动化检测系统,对具有人工预埋缺陷的钛合金薄板直角焊缝结构进行了检测试验,验证检测方法的正确性。研究结果表明,所提出的相控阵超声检测方法,能够对裂纹、未焊合等类型缺陷进行良好表征,满足薄板直角焊缝的超声无损检测要求。
  • 李德发, 齐红元, 侯东明, 孔凡爽, 洪淼, 韩得福
    机械工程学报. 2021, 57(12): 153-160. https://doi.org/10.3901/JME.2021.12.153
    摘要 ( ) PDF全文 ( )   可视化   收藏
    声发射技术因具有高频、高灵敏度的感知能力,可应用于动车组轴箱轴承的状态监测和故障诊断,但目前尚缺乏轴承状态与声发射信号之间的机理性研究。以动车组轴箱轴承为研究对象,应用赫兹接触理论,基于微凸体随机分布假设,建立了轴承粗糙表面的接触模型;采用弹性力学理论,进行了轴承受载条件下的微凸体弹性变形分析;结合弹流理论,进而建立了润滑条件下滚动体与内、外圈之间的粗糙接触表面变形能量方程;分析轴承接触状态声发射信号的弹性波表征特点,获取轴承变形能与声发射感知的RMS之间的变化关系,从而完成了轴承的声发射检测机理研究。以典型双列圆锥滚子轴承的外圈故障为研究实例,通过理论分析和试验结果之间的比对,验证了机理分析的正确性,为声发射感知在轴承状态检测的应用提供了理论支持。
  • 材料科学与工程
  • 杨佳, 张勋业, 马广璐, 林盼盼, 徐彦强, 林铁松, 何鹏
    机械工程学报. 2021, 57(12): 161-168. https://doi.org/10.3901/JME.2021.12.161
    摘要 ( ) PDF全文 ( )   可视化   收藏
    针对新型耐高温复合材料(SiCf/SiC)的加工性差的问题,采用AuCuTi/Mo/AuCuTi复合钎料对其与镍基高温合金进行钎焊研究。通过探究不同温度下的接头力学性能及组织演变规律,对界面反应和应力缓释机理进行分析。在1 050℃/10 min的工艺参数下,接头室温剪切强度最高达到79 MPa。接头典型的界面结构为GH536/(Ni,Cr,Mo,Fe)+TiNi3+Ti2Ni+AuCuI/TiNi3+Ti2Ni+TiNi+AuCuI/σ/Mo/Mo4.8Si3C0.6/Ti5Si3Cx/Ti5Si3Cx+TiC+AuCuI/Ti3SiC2/SiCf/SiC。当温度较低时,界面反应程度较低,因此陶瓷/钎料异质界面难以形成连续的Ti5Si3Cx+TiC连接层;而当钎焊温度增加到1 050℃时,异质界面处开始形成厚度约为3 μm的Ti3SiC2,从而实现有效地连接。当温度继续升高到1 100℃时,Cr元素在Mo箔中的扩散程度增加,并在陶瓷/钎料异质界面处发生富集。而此时过厚的界面反应层(10 μm)则是引起接头剪切降低的主要原因。使用该钎焊体系有助于阻碍母材之间的剧烈反应以及缓解接头的热应力,在一定程度上改善了SiCf/SiC在实际应用中的加工困难问题。
  • 杨冰, 魏占江, 廖贞, 肖守讷, 阳光武, 朱涛, 王明猛, 邓永权
    机械工程学报. 2021, 57(12): 169-178. https://doi.org/10.3901/JME.2021.12.169
    摘要 ( ) PDF全文 ( )   可视化   收藏
    基于数字图像相关技术,使用非线性迭代法拟合工业纯钛CT试样表面位移场,获得了过载前、过载时、过载后循环的裂纹尖端位置随载荷的变化规律。使用数字图像相关技术获取裂纹张开位移,通过间接法测量裂纹张开力,进而研究过载对裂纹闭合效应的影响。对比过载前一循环与过载循环在卸载状态下裂纹尖端附近区域的应变场,结合裂纹尖端位置随载荷的变化规律及相对应循环的裂纹张开力,分析可知:过载在裂纹尖端附近区域产生较大塑性变形,即使卸载后仍在较大程度上得到保留,从而使裂纹闭合效应减弱,导致过载后裂纹尖端位置随载荷的变化规律与过载前明显不同,且力-位移曲线也未出现显著的转折点。
  • 田笑, 张恒, 王恒强, 王兵, 陈飞
    机械工程学报. 2021, 57(12): 179-191. https://doi.org/10.3901/JME.2021.12.179
    摘要 ( ) PDF全文 ( )   可视化   收藏
    环件轧制作为一种无缝环筒类构件先进塑性成形技术,目前还难以实现铝合金薄壁带筋锥筒构件的近净成形制造。针对2A14铝合金薄壁异形截面环件,建立其辗扩成形宏微观耦合分析有限元模型,选用矩形截面环件作为坯料,基于有限元模拟获得了优化后的轧制孔型,并探究坯料初始温度及芯辊进给速度对材料成形性和微观组织演变的影响规律,得到微观组织均匀且孔型填充性良好的辗环工艺参数。环坯温度为470℃,芯辊进给速度为1.2 mm/s,主辊旋转转速为30 r/min,上锥辊的压下速度为0.6 mm/s为最优工艺参数,能够满足2A14铝合金异形截面辗扩形/性控制要求,可为实际生产提供理论指导。
  • 王瑞雪, 叶巴丁, 孔祥号, 夏章川, 张子鹏, 李好义, 谢鹏程
    机械工程学报. 2021, 57(12): 192-207. https://doi.org/10.3901/JME.2021.12.192
    摘要 ( ) PDF全文 ( )   可视化   收藏
    简要介绍等离子体的相关概念和分类,根据等离子体电极结构、放电特性不同将等离子体分为热等离子体和温和等离子体,并对比两种等离子体表面强化技术的异同点。在此基础上,从当前研究进展和存在的关键科学技术问题两个角度,梳理热等离子体喷涂技术在制备热障涂层、耐磨涂层、梯度功能材料等领域的应用,对温和等离子体表面强化技术(等离子体物理气相沉积、等离子体化学气相沉积以及冷等离子体)在纳米纤维改性、高压绝缘、生物医学等领域的应用进展进行了综述。最后,从等离子体产生技术、表面强化技术应用以及微观-宏观过程控制三个角度分析了等离子体表面强化技术的未来发展方向,对等离子体表面强化技术的多学科发展融合和综合利用提供一定的参考。
  • 钱承, 孙荣生, 张柳柳, 白振华, 华长春
    机械工程学报. 2021, 57(12): 208-216. https://doi.org/10.3901/JME.2021.12.208
    摘要 ( ) PDF全文 ( )   可视化   收藏
    针对板带轧制过程轧机出现的垂直振动问题,分析轧机液压与机械系统耦合作用,建立4自由度轧机机-液耦合振动模型。研究前后张应力、压下制度和摩擦因数对轧机振动过程中轧制力的影响,构建轧机振动轧制力增量模型。基于振动系统正负阻尼对轧机振动的稳定性影响,提出用于表征轧机振动发生概率的振动系数指标与轧机稳定判别模型。同时选取现场典型规格产品为例,分析出轧制速度、压下制度、平均张力、乳化液流量、乳化液浓度和乳化液温度等关键工艺参数对振动系数的影响规律,并编制轧机振动系数计算软件,将其应用到某厂五机架冷连轧机组,验证了本文提出的振动判别模型的有效性。
  • 谢峰, 马亮, 刘玉磊, 杨东
    机械工程学报. 2021, 57(12): 217-225. https://doi.org/10.3901/JME.2021.12.217
    摘要 ( ) PDF全文 ( )   可视化   收藏
    如何快速、准确地对钛合金的微观组织含量、尺寸、分布和形态进行表征是实现其组织定量调控的关键。为实现这一目标,以钛合金Ti-6Al-4V的等轴组织为研究对象,针对钛合金中粘连组织轮廓具有不规则性而不易进行组织分割的问题,通过采用改进的快速特征点检测与绘制模板圆相结合的方法,对其切削加工后的表面微观组织图像中的粘连组织进行分割;进而采用定向度和圆形度参数来描述钛合金微观组织的分布情况和形态,并对其体积分数和晶粒尺寸进行定量表征,以便更完整地描述钛合金微观组织的特征信息。采用该方法研究钛合金Ti-6Al-4V的组织随切削速度的变化情况,验证该方法的可行性和有效性。所研究的改进的快速特征点检测与绘制模板圆相结合的方法可为材料的微观组织定量表征提供一种新思路和新方法。
  • 崔晓磊
    机械工程学报. 2021, 57(12): 226-236. https://doi.org/10.3901/JME.2021.12.226
    摘要 ( ) PDF全文 ( )   可视化   收藏
    管材的起皱行为及其控制方法是目前流体高压成形领域的研究热点,对汽车、航空航天等重要领域高性能轻质整体复杂薄壁零件的成形制造具有重要意义。针对流体高压成形中薄壁管材受载复杂而易发生失稳起皱的问题,首先综述了管材在轴压或轴压与内压联合作用下的塑性失稳及起皱行为,讨论常用的管材轴向临界起皱应力模型及在流体高压成形中的应用,并发现通过预制有益皱纹可预先在变形区聚集材料从而显著提高管材成形极限。此外,重点介绍管材流体高压成形过程中起皱行为的控制方法,对管材起皱过程的应力分布、皱纹几何形状的演变规律进行了分析。提出可将三维应力状态和非均匀温度场作用下管材起皱行为作为重点研究方向,这不仅有助于构建复杂受载、非均质管壳的失稳起皱理论体系,而且可提高难变形材料大膨胀率管件的成形制造能力。
  • 李云峰, 石岩
    机械工程学报. 2021, 57(12): 237-246. https://doi.org/10.3901/JME.2021.12.237
    摘要 ( ) PDF全文 ( )   可视化   收藏
    为提高大型主动轮齿圈齿面的耐磨与耐冲击性能,以齿圈所用ZG42CrMoA材料为研究对象,采用5 kW CO2激光器、四轴联动数控机床及载气式同轴送粉系统等设备在其表面激光熔覆制备夹层式与匀质复合涂层。利用扫描电镜、X射线衍射仪、显微硬度计及光学显微镜等分析、测试仪器对两种复合涂层进行微观组织表征。利用摩擦磨损试验机、夏比冲击试验机对高频感应淬火ZG42CrMoA、夹层式与匀质复合涂层进行磨损率、冲击韧性测试。结果表明,匀质复合涂层组织细化均匀且包含γ-Ni、Ni3B、M23C6、WC及W2C等物相。夹层包含γ-Ni、M23C6、NiMo及NiMo4等物相,其组织以等轴晶为主且出现Mo元素偏析并阻碍Cr元素析出。夹层式与匀质复合涂层磨损率较基材与高频淬火试样分别降低64.71%和56.84%。夹层式复合涂层冲击韧性较匀质复合涂层与高频淬火试样分别提高8.21%和14.67%,并达到基材的65.37%。通过数值模拟可知,夹层能显著缓解复合涂层的应力集中,表明其能有效提高复合涂层的耐冲击性能。
  • 交叉与前沿
  • 汪亚顺, 张书锋, 陈循
    机械工程学报. 2021, 57(12): 247-257. https://doi.org/10.3901/JME.2021.12.247
    摘要 ( ) PDF全文 ( )   可视化   收藏
    提出机电设备可靠性验证试验统计方案设计方法,推导指数分布场合及Weibull分布场合接受概率方程组,并给出求解方法流程。据此分析样本量及Weibull分布形状参数对传统可靠性验证试验统计方案(GJB899A—2009中典型方案)实际抽样风险的影响。研究表明,指数分布场合下样本量较小时,采用允许失效的传统方案时,生产方与使用方风险均与名义风险相差较大,且对使用方非常不利。随着样本量增大,生产方风险不断上升而使用方风险不断降低,逐渐接近于名义风险。Weibull分布场合下,采用传统方案时样本量越大机电设备通过可靠性验证试验被接收的概率越大,且Weibull分布形状参数越大,理论抽样特性越接近于理想的陡峭“台阶”形状。可为工程实际中开展机电设备可靠性验证试验及减少误判风险提供借鉴。
  • 王翔宇, 张红娟, 杨敬, 葛磊, 郝云晓, 权龙
    机械工程学报. 2021, 57(12): 258-266,284. https://doi.org/10.3901/JME.2021.12.258
    摘要 ( ) PDF全文 ( )   可视化   收藏
    装载机通常采用阀控液压系统驱动动臂升降,上升过程积累了大量的动臂重力势能,在下降过程中经液压系统节流口节流作用耗散到环境中,频繁的升降过程产生了大量节流和溢流损耗,造成了系统发热与能量浪费。为消除液压系统的溢流与节流损失,提出采用闭式泵控原理驱动动臂单出杆液压缸;为平衡液压系统中单出杆液压缸的不对称流量和回收利用动臂的重力势能,提出含有三个配流窗口的非对称泵为闭式泵控液压系统供油。在非对称泵中,其中一个配流窗口与蓄能器相连,动臂下降阶段用于回收动臂重力势能,上升阶段与另外一个配流窗口共同为液压缸无杆腔供油,第三个配流窗口则与液压缸有杆腔相连。研究中,分析所提系统的工作原理,建立联合仿真模型,构建所提系统的试验平台,对所提系统的工作和能耗特性进行试验研究。试验结果表明,所提系统可平衡由闭式泵控单出杆液压缸造成的非对称流量,并实现动臂重力势能的回收,与原有阀控系统相比,最高可降低系统能耗47.19%。
  • 王瑶, 张进杰, 周超, 江志农, 刘雯华, 孙旭
    机械工程学报. 2021, 57(12): 267-274. https://doi.org/10.3901/JME.2021.12.267
    摘要 ( ) PDF全文 ( )   可视化   收藏
    气阀是往复压缩机最易损部件,尤其在气量调节系统工作状态下,阀片断裂、弹簧断裂等故障频繁发生,进而导致压缩机气量调节失败,严重影响企业生产。为了使往复压缩机在部分气阀气量调节失效故障下,能够不停机自动在线调整恢复到接近正常的性能,构建气缸-气阀气量分配模型,提出一种通过气阀气量分布网络收缩重构和负荷再分配的自愈调控方法。利用主动自愈调控手段,完成故障区域快速隔离,组建新的调节域并寻找自愈路径,再通过负荷自适应分配实现机组故障后的自我恢复。介绍气量调节失效故障自愈调控系统的组成,并进行故障自愈调控性能试验。试验结果表明,自愈调控系统可在故障劣化的初期采用主动调控方法抑制故障的发展,在12 s内将气量调节失效故障的压力波动调整至许可范围内,实现机组不停机由部分气阀气量调节失效故障状态恢复到正常状态,使故障在线自愈,确保设备的健康运行。
  • 李云飞, 耿江军, 汤添益, 房艳, 马昕, 陈朝晖, 陈涛, 刘会聪, 孙立宁
    机械工程学报. 2021, 57(12): 275-284. https://doi.org/10.3901/JME.2021.12.275
    摘要 ( ) PDF全文 ( )   可视化   收藏
    波浪能是世界上分布最广泛的可再生能源之一。海洋环境中波浪运动随机复杂且频率极低,这为海洋波浪能的高效收集利用提出挑战。设计了一种混沌平面摆式波浪能收集装置,其中混沌平面摆作为超低频随机波浪俘能机构,配合齿轮增速传递机构与电磁旋转机构实现波浪能收集装置的高功率输出。为更好响应浮标在海洋中的运动激励,对俘能机构进行动力学分析建模与优化。针对装置输出电压无规律且低频交流的特性,设计功率采样跟踪升压存储的电源管理电路。通过实验室测试与实际近海测试,装置能够对复杂波浪产生最大10 V的开路电压,最大输出功率约205 mW。海试中,4小时可将200 mAh锂电池电压由3.12 V充电至3.6 V,能够作为新能源海洋浮标低功耗传感器的可持续电源。